河北药品安全科普网
严打!一地处罚8名“挂证”执业药师
来源:贵州省药品监督管理局 2025-12-31 14:54:36

12月26日

贵州省药品监督管理局发布公告

撤销8人的《执业药师注册证》

  全文如下

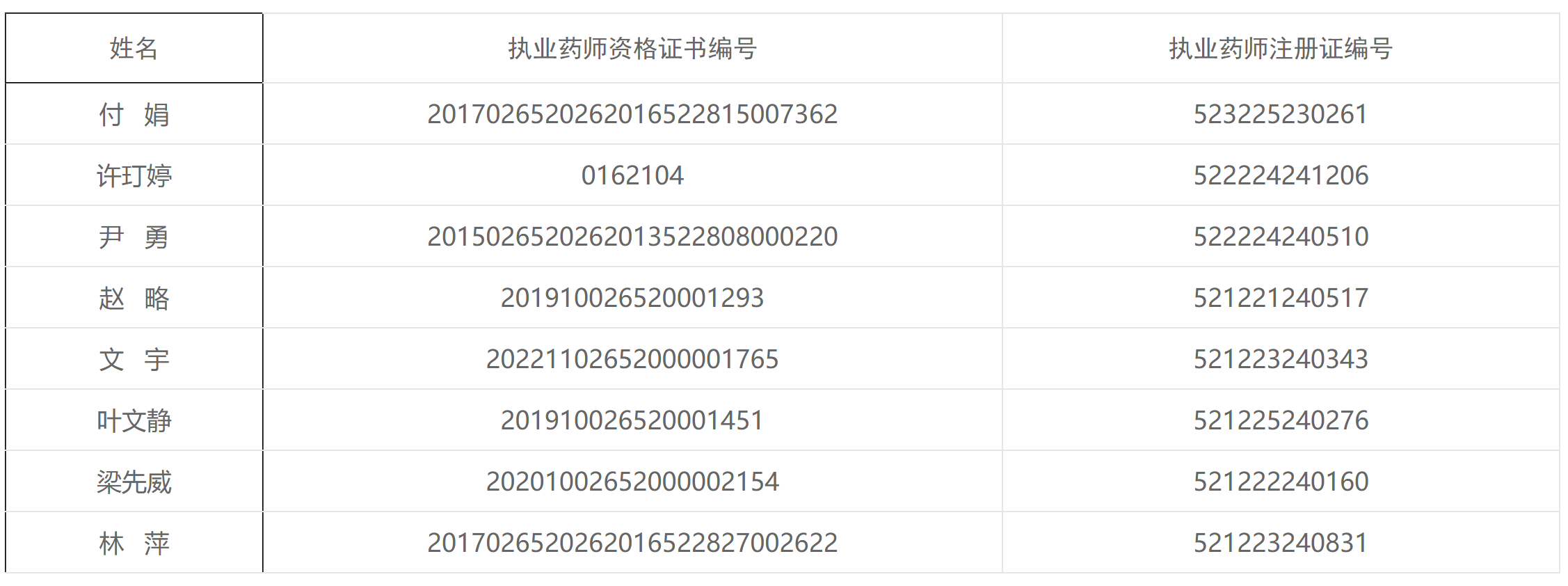
关于撤销付娟等8人

《执业药师注册证》的公告

  经核查,付娟等8人存在《执业药师注册证》挂靠行为。依据《执业药师职业资格制度规定》第二十八条和《执业药师注册管理办法》第三十四条规定,撤销付娟等8人的《执业药师注册证》,三年内不予注册。

  特此公告。

  贵州省药品监督管理局

  2025年12月26日

主办单位:河北省市场监督管理局、河北省药品监督管理局
地址:石家庄市桥西区南二环西路45号,燕赵金融大厦6、7层  电话:83720000    关于我们
备案序号:冀ICP备06018924号-54  技术支持:长城新媒体集团